Trennnetz/Gepäcknetz 406er Break?

Die wohl interessanteste Kategorie. Ihr habt Probleme mit Eurem Peugeot? Die Werkstatt weiss mal wieder nicht weiter? Das Handbuch gibt auch nichts mehr her? Na dann, stellt Eure Frage hier rein.
Antworten
LENNOXX

Trennnetz/Gepäcknetz 406er Break?

Beitrag von LENNOXX » Fr 29.10.10 20:55

servus!
...es gibt ja bekanntlich gepäcknetze bzw. trennnetze für den 406er Break...
aber...ab wann gab es dafür auch die oberen halterungen in der kiste (bei mir sind keine drin :gruebel: )
und wie wurde dieses teil zuvor darin befestigt? gab es die teile bist zu nem bestimmten produktionszeitraum nicht?
gibts ne möglichkeit die oberen halter nachträglich reinzupfriemeln?
hat das vielleicht schonmal jemand gemacht, oder außer "universalmaterial" was eingebaut?

Benutzeravatar
406 D
Spätzünder
Beiträge: 1665
Registriert: Di 11.11.03 00:00
Postleitzahl: 26632
Land: Deutschland
Wohnort: ihlow

Re: Trennnetz/Gepäcknetz 406er Break?

Beitrag von 406 D » So 31.10.10 16:55

moin,

ich habe bei meinem von 98 auch keine befestigungspunkte oben gefunden. vlt. hat ja die serie 2 so was.

bei meinem habe ich ein trenngitter drin, ist jedenfalls erheblich stabiler.

andreas

Benutzeravatar
Timon
Administrator
Beiträge: 12593
Registriert: Mi 21.03.01 00:00
Postleitzahl: 18437
Land: Deutschland
Wohnort: Stralsund
Kontaktdaten:

Re: Trennnetz/Gepäcknetz 406er Break?

Beitrag von Timon » Mo 01.11.10 07:01

406 D hat geschrieben:ich habe bei meinem von 98 auch keine befestigungspunkte oben gefunden. vlt. hat ja die serie 2 so was.
Ja, die Serie 2 hat sowas.
Wenn ich das aber richtig sehe, muss man dafür die Rückbank umklappen. Aber das ist nur eine Vermutung.

Viele Grüße
Frank
Citroen C8, Diesel, 107PS, Automatik: Bild

Konga
Zufrühabschnaller
Beiträge: 640
Registriert: Di 26.10.04 16:30
Land: Deutschland
Wohnort: bei Berlin

Re: Trennnetz/Gepäcknetz 406er Break?

Beitrag von Konga » Mo 01.11.10 15:09

Hi, ich habe einen 2000er Break (i.e., Serie 2):
Oben im Dachhimmel befinden sich zwei Paar Befestigungsösen, so daß das Netz hinter den Vordersitzen oder hinter der Rücksitzbank aufgespannt werden kann. Diese Ösen sind ähnlich der Haltegriffe im Dachhimmel ziemlich stabil.
Im Kofferraum sind 4 weitere Ösen ungefähr in den vier Ecken des Kofferraums, diese Ösen sitzen auf Schrauben und halten gleichzeitig die Abdeckplatte über der Reserveradmulde.

LENNOXX

Re: Trennnetz/Gepäcknetz 406er Break?

Beitrag von LENNOXX » Di 02.11.10 11:05

@Konga:
...SO hab ich das auf manchen Bildern auch gesehen, nur eben bei meiner kiste (vermute also BIS zu einem bestimmten baudatum) wurden solche halterungen noch nicht verbaut.
wenn ich jedoch den himmel über den hinteren seitenscheiben anhebe und drunter fühle, sind etwa dort, wo sich vermutlich bei deinem modell die halterungen befinden, löcher im blech (groß und rund), sodaß ich mich gefragt habe, ob es solche halterungen wie du sie dort hast, nachträglich dort einzubauen gibt.
hat vielleicht jemand ein bild von den teilen im ausgebauten zustand, oder vielleicht als explosionszeichnung von irgend ner ersatzteilliste???
so könnte man vielleicht zumindest schonmal sehen, ob eine befestigung rein theoretisch möglich wäre... :ohoh:

Benutzeravatar
406 D
Spätzünder
Beiträge: 1665
Registriert: Di 11.11.03 00:00
Postleitzahl: 26632
Land: Deutschland
Wohnort: ihlow

Re: Trennnetz/Gepäcknetz 406er Break?

Beitrag von 406 D » Di 02.11.10 17:04

moin,

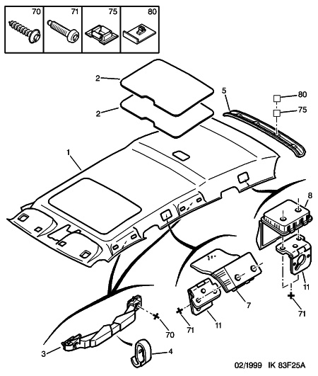
hier ein bild vom phase 2 dach:
dach2.jpg
wenn du sagst da sind löcher für die schrauben vorhanden dann brauchst du nr.7, nr.8 und 2 mal nr. 11 pro seite.

nr.7:

Teilenr. Bezeichnung Preis
8328Z0 GEHAUESE HALTER 4,30 €

nr.8:

Teilenr. Bezeichnung Preis
8328Z2 GEHAUESE HALTER 1,69 €

nr.11:

Teilenr. Bezeichnung Preis
7220CV SATZ HALTER 15,73 €

bei den preisen weiß ich nicht ob das einzeln oder paarweise ist, am besten druckst du dir das bild mal aus und gehst damit zum händler.

oder mal versuchen einen schlachtwagen zu bekommen.

andreas

LENNOXX

Re: Trennnetz/Gepäcknetz 406er Break?

Beitrag von LENNOXX » Di 02.11.10 18:49

...danke! damit schlapp ich mal zum pöschoo-fritzen.
wenn das loch im dach dafür nicht passt, wirds irgendwie passend gemacht :)

Antworten