206, 1,4l Diesel Motor stottert

Die wohl interessanteste Kategorie. Ihr habt Probleme mit Eurem Peugeot? Die Werkstatt weiss mal wieder nicht weiter? Das Handbuch gibt auch nichts mehr her? Na dann, stellt Eure Frage hier rein.
wonk
Radarfallenwinker
Beiträge: 21
Registriert: Di 21.07.20 12:36
Land: Deutschland

206, 1,4l Diesel Motor stottert

Beitrag von wonk » Sa 16.12.23 12:43

Hallo,
nach 9 Monaten trat bei dem Fahrzeug (16 Jahre alt) wie zuvor wieder Motor stottern/ ruckeln auf. Es wurde so schlimm, dass der Motor stehen blieb. Nach einigen Minuten warten konnte man jeweils wieder einige km fahren. Ich habe wieder Diesel Systemreiniger zugegeben, danach war nach etwa 40km der Effekt weg. Peugeot konnte mit ihrem Motortester die Fehlercodes nicht auslesen - keine Verbindung zum System. Mit meinem Billigtester ging es: Nach Ruckeln jeweils P0335, Kurbelwellensensor. Kann es sein, dass der Fehler nur eine Folge des Ruckelns ist?
Ich hatte vor 9 Monaten ~ 4000km den Dieselfilter gewechselt. Das Papier innen war in einem Drittel ganz schwarz - normal?
Oder sollte ich jetzt einfach wie empfohlen alle 2000km Reiniger reinkippen?
Gruß, wonk

Benutzeravatar
onkelbue
Radarfallenwinker
Beiträge: 10
Registriert: Di 26.05.09 14:07
Postleitzahl: 66557
Land: Deutschland

Re: 206, 1,4l Diesel Motor stottert

Beitrag von onkelbue » Sa 16.12.23 22:00

Hallo Wonk
Hast du am Motor ein AGR dran? Das würde das Ruckeln und ausgehen des Motors Erklären. Unterdruck am AGR kontrollieren ob druck hält.

Emma65
ADAC-Fan
Beiträge: 570
Registriert: Mi 08.07.20 17:22
Land: Deutschland

Re: 206, 1,4l Diesel Motor stottert

Beitrag von Emma65 » So 17.12.23 15:24

wonk hat geschrieben:
Sa 16.12.23 12:43
Nach Ruckeln jeweils P0335, Kurbelwellensensor. Kann es sein, dass der Fehler nur eine Folge des Ruckelns ist?
Kann sein, muss nicht sein. Ich würde Ihn aber mal auf Verdacht ersetzen. Teile Nr.: 1920EH
Weitere "Verdächtige" Bereiche:
- Kraftstoffilter
- Steckers des Kraftstoffhochdruckfühlers
Reparaturkabel (ET-Nummer 1922G5), Den Einbauort der 3 Leitungen auf dem Stecker des Kraftstoffhochdruckfühlers markieren.
Den Stecker des Kraftstoffhochdruckfühlers ersetzen.
- Abgasrückführventil verklemmt sich unregelmäßig (ET-Nummer 1628XV)
- Elektroventil Abgasrückführventil klemmt (ET-Nummer 1628ZT)
Wer billig schraubt, schraubt 2 mal.

wonk
Radarfallenwinker
Beiträge: 21
Registriert: Di 21.07.20 12:36
Land: Deutschland

Re: 206, 1,4l Diesel Motor stottert

Beitrag von wonk » Mo 25.12.23 20:47

Hallo,
Danke für Eure Hinweise. Mit dem AGR hatte ich auch schon Probleme, das gibt aber andere Fehlernummern und -bilder. Ausdemmglaube ich nicht, dass sich Probleme dort ( im Abgas) über den Systemreiniger lösen lassen.
Hm, hat der 14l HDI 2Filter? Ich hatte diesen hier https://www.ebay.de/itm/225665997222?fi ... R4bN2aiUYw gewechselt.
Gruß, wonk

Benutzeravatar
obelix
Administrator
Beiträge: 19543
Registriert: Mi 21.03.01 00:00
Postleitzahl: 71640
Land: Deutschland
Wohnort: Ludwigsburg
Kontaktdaten:

Re: 206, 1,4l Diesel Motor stottert

Beitrag von obelix » Di 26.12.23 10:53

Ich würde trotzdem die Tipps von Emma zumindest mal berücksichtigen, er liegt i.d.R. gut im Rennen mit seinen Hinweisen.

Gruss

Obelix
308SW, der aktuelle Alltagshobel: VF34H5FWC9S197117
Meine Oldtimer

wonk
Radarfallenwinker
Beiträge: 21
Registriert: Di 21.07.20 12:36
Land: Deutschland

Re: 206, 1,4l Diesel Motor stottert

Beitrag von wonk » Sa 30.12.23 16:55

Hallo,
muss man zum Wechsel des Kurbelwellensensors obere und untere Zahnriemenabdeckung demontieren, oder geht das ohne?
Gruß, wonk

Emma65
ADAC-Fan
Beiträge: 570
Registriert: Mi 08.07.20 17:22
Land: Deutschland

Re: 206, 1,4l Diesel Motor stottert

Beitrag von Emma65 » Mo 01.01.24 17:19

Geht nicht ohne.
Ich persönlich würde aber mit dem Steckers des Kraftstoffhochdruckfühlers anfangen. Kam damals öfters vor.
Wer billig schraubt, schraubt 2 mal.

wonk
Radarfallenwinker
Beiträge: 21
Registriert: Di 21.07.20 12:36
Land: Deutschland

Re: 206, 1,4l Diesel Motor stottert

Beitrag von wonk » Di 02.04.24 15:03

Hallo,
jetzt, 1000km später, ist das Ruckeln/ Stottern mit Ausgehen wieder aufgetreten. Nach Reinschütten von Diesel-Systemreiniger ist es jetzt 100km lang nicht mehr aufgetreten. Der Fehlerspeicher zeigt nichts an, vielleicht ist der Fehler aber 100km später auch schon wieder gelöscht.
Wie auch immer, ich muss wohl noch weiter nach dem Fehler suchen. Den Kurbelwellensensor habe ich noch nicht getauscht.
Emma65 hatte empfohlen, als erstes das Kabel des Kraftstoffhochdruckfühlers zu tauschen. Das ist laut Abb. ein etwa 40cm langes dreiadriges Kabel.
Die Dieselpumpe ist doch rechts hinter dem Motor?
"Gefühlt" scheint das in einen Kabelbaum zu münden.
Ist das dieses Kabel?
Ist es das auf dem Bild sichtbare Kabel?
IMG.jpg
Gruss, wonk

wonk
Radarfallenwinker
Beiträge: 21
Registriert: Di 21.07.20 12:36
Land: Deutschland

Re: 206, 1,4l Diesel Motor stottert

Beitrag von wonk » So 30.06.24 19:09

Hallo,
nachdem ich jetzt mit dem gleichen Problem erneut liegen geblieben bin ist mir aufgefallen, dass beim Stottern an dem durchsichtigen Schlauch an der Diesel-Handpumpe Luftblasen auftauchen. Pumpen behebt das Problem vorübergehend, bis neue Blasen auftauchen.
Ich möchte deshalb die Kraftstoffschläuche wechseln. Das ist aber ein ganzer "Schlauchbaum", siehe https://www.ebay.de/itm/171823694112?it ... R-rWlqGNZA:
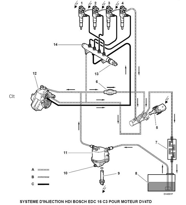
Ist der richtig? Ich habe das folgende Schema gefunden:
Dieselsystem.png
Ist das korrekt? Was ist 5, 7?
Danke für die Unterstützung
Gruss, wonk

Emma65
ADAC-Fan
Beiträge: 570
Registriert: Mi 08.07.20 17:22
Land: Deutschland

Re: 206, 1,4l Diesel Motor stottert

Beitrag von Emma65 » So 30.06.24 20:18

Pos. 5 ist ein Raildrucksensor
Pos. 7 ist eine Kraftstoffvorwärmung
Wer billig schraubt, schraubt 2 mal.

Antworten